The US Patent and Trademark Office this week highlighted a new patent application that demonstrates Apple’s efforts to advance the technology of the MacBook keyboard. The company claims that existing keyboard illumination technology is being enhanced so that future keyboards will be able to show different symbols based on the circumstance.
Currently, the backlighting on Apple’s MacBook keyboards serves just to make the keys legible in low-light conditions. The labels on the keys themselves are pre-printed, thus they are static and cannot be altered and may become worn with prolonged usage.
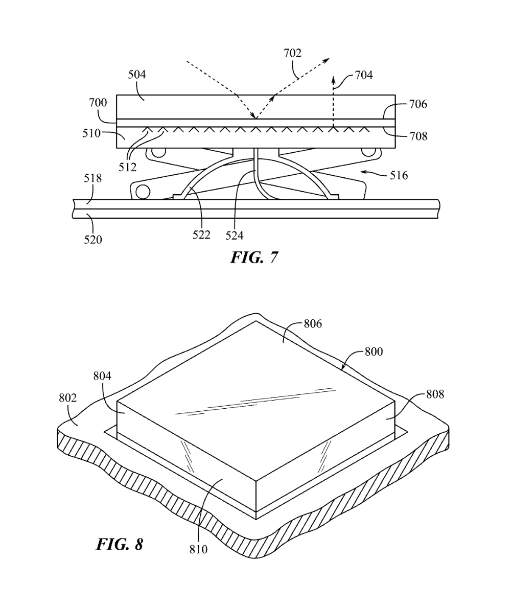
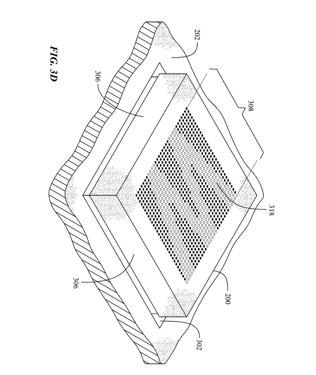
This week’s patent, which was identified by Patently Apple, demonstrates Apple’s efforts to address these problems. The business envisions a keyboard with holes through the top and bottom layers of each key. Each key on the keyboard may be intelligently illuminated by the backlighting below to display various symbols and characters.
However, light that passes through the keycaps from under their top surfaces might cause glyphs for each keycap to display on the keys when the keyboard is enabled. Due to unique light sources or displays that are positioned on or beneath each of the keycaps, the glyphs may appear to float. Thus, the top of the keycaps may be used to direct all of the light produced by the light sources or displays. as opposed to conventional keyboards, where light frequently leaks between neighbouring keycaps or is visible between or below the keycaps, to produce the glyphs.
Another possible situation is also depicted in the patent, where the light source is an “array of LEDs, such as a display employing micro-LED or OLED pixels.” This would be a much more advanced implementation of a similar idea that offers greater controls, flexibility, and customizability.
The application for a apple patent
Some implementations allow the light sources or displays to contain an array of LEDs, such as an OLED or micro-LED display. The number of holes in the keycaps can be matched to the number of pixels in the display, for instance, allowing each pixel to illuminate a single perforation. In this way, it is possible to manipulate the screens and light sources to produce glyphs that may switch between various forms, characters, colours, symbols, animations, languages, and other characteristics.
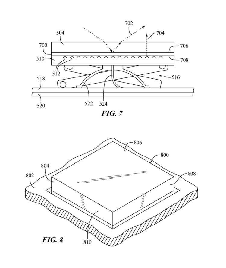
The keycaps of the keyboard may be created using materials that aren’t generally utilised in keycaps for regular keyboards, such as metals like aluminium, thanks to this architecture, according to Apple. As a result, the top surfaces of the keyboard’s keycaps may match the look of the housing surfaces that surround them, which may also have metal surfaces.
The keycaps of the keyboard may be created using materials that aren’t generally utilised in keycaps for traditional keyboards, such as metals like aluminium, thanks to this architecture. As a result, the top surfaces of the keyboard’s keycaps may mirror the design of the housing surfaces that surround them, which may also be made of metal.
What Apple is describing in their patent application is quite innovative. But it’s not a simple operation to perform, as we’ve seen from prior attempts by Apple to update keyboard technology. If Apple were to include anything similar in a future MacBook, it would have to do it without interfering with the dependability and familiarity of current keyboard layouts.
To get real-time news alerts, join the Technewsrooms Telegram group. You can also follow us on Twitter for updates.








